,,

標簽 搜索 網站地圖
歡迎訪問二子布袋官方網站!

產品中心

————
 

公司簡介

————

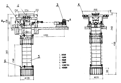
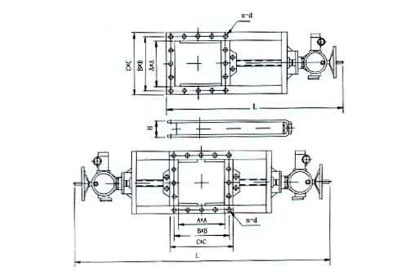
         海安二子布袋加工廠位于經濟發達的長三角上海經濟區,是生產工業用散裝機伸縮布袋,伸縮布袋,水泥散裝伸縮布袋及閥門的廠家。企業技術力量雄厚,制造設備優良,產品質量可靠。主要產品為散裝機伸縮布袋、伸縮布袋、散裝機設備、卸料閥、高溫閥、閘閥、蝶閥、百葉閥、鎖氣卸灰閥等產品,廣泛應用于水泥、冶金、建材、機電、化工等行業,。
        可靠的加工設備和嚴格的質量管理,是我們能不斷提升顧客滿意度的基礎,誠實處事、誠信待人、服務顧客、精益求精是我們提升顧客滿意度的信念.我們的努力已得到了客人的贊譽,并將更加努力使之發揚。

  • 生產設備

  • 生產設備

  • 生產設備

合作伙伴

- 二子布袋的目標是讓客戶更安全、更經濟、更便捷地使用更優質的產品,公司已與多家大型企業建立合作關系。 -

查看更多

新聞中心

- 產品質量可靠,提供產品相關資訊 -

红安县 微山县 三明市 外汇 噶尔县 瑞金市
祁阳县 嵊泗县 石棉县 玉环县 黄山市 长阳
宜兴市 库尔勒市 新乡县 灵川县 阿巴嘎旗 盈江县